多功能水泵控制閥JD745X-(10/16/25)
多功能水泵控制閥一般分為隔膜式或活塞式兩大類,它們工作原理相同。閥門驅動裝置采用雙腔控制結構,即在隔膜(或活塞)下腔與下游處單獨隔出一個控制室:本系列閥門是通過主閥內雙腔與外裝的導閥、導管、調節閥和壓力表等連接組合成使用場所、目的及功能不同的閥門。
目錄
多功能水泵控制閥結構特點
多功能水泵水力控制閥一般分為隔膜式或活塞式兩大類,它們工作原理相同。閥門驅動裝置采用雙腔控制結構,即在隔膜(或活塞)下腔與下游處單獨隔出一個控制室:本系列閥門是通過主閥內雙腔與外裝的導閥、導管、調節閥和壓力表等連接組合成使用場所、目的及功能不同的閥門。
多功能水泵控制閥主要型號名稱
多功能水泵控制閥JD745X
水力(遙控)浮球閥F745X
可調式減壓閥YX741X
安全泄放閥(泄壓/持壓閥)AX742X
電動遙控閥J145X
流量控制閥L715X
技術參數
閥體 | 連接方式 | 強度實驗 | 密封實驗 | 適用溫度(℃) | 適用介質 |
Y型 | 法蘭連接 | 1.5倍公稱壓力 | 1.1倍公稱壓力 | ≤80℃ | 水、油品 |
設計與應用標準
1、設計與制造標準:JB/T 10674-20662、
2、法蘭連接標準:JB/T 78-1994、JB/T 79-1994
3、結構長度標準:GB/T 12221-2005、廠標
4、檢驗與實驗標準:JB/T 9092-1999、JB/T 10647-2006、GB/T 12245-1989
多功能水泵控制閥動作原理
多功能水泵水力控制閥通過一個雙腔控制室,利用液壓原理控制主閥板緩慢開啟或處于調節狀態。活塞式的閥門還可以在閥蓋上配置調節螺桿裝置,因而可以控制閥門的最大開啟度和流量,并在必要時可以手動關閥。 |
全開狀態: 當水泵啟動后,閥門進水口壓力上升,壓力水一方面推動主閥板開啟,另一方面通過導管系統進入膜片(活塞)下腔,而膜片(活塞)上腔的水通過導管系統泄入壓力低的閥門出水口,而閥門在二合力的作用下緩慢開啟。 |
|
全閉狀態: 當水泵停機后。閥門中的水流速度降低,在接于近零時,主閥板在彈簧力和自身重力作用下快速關閉,而閥后的壓力水通過導管系統返回膜片(活塞)上腔,并推動固定閥桿上的小閥板緩慢關閉 |
|
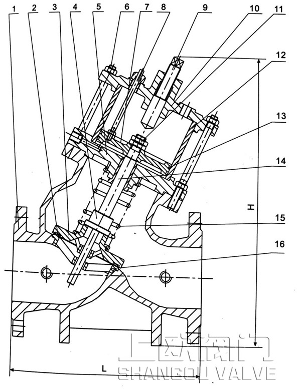
多功能水泵水力控制閥主閥(隔膜式)結構圖

隔膜式多功能水泵水力控制閥主要零件及材料
序號 | 零件名稱 | 主要材料 |
1 | 閥體 | 鑄鐵、鑄鋼、不銹鋼 |
2 | 密封圈 | 丁晴橡膠 |
3 | 閥板 | 球鐵,鑄鋼 |
4 | 螺栓、螺母 | 碳素鋼 |
5 | 小閥板 | 鑄鋼、不銹鋼 |
6 | 閥蓋 | 鑄鐵、鑄鋼、不銹鋼 |
7 | 導向套 | 球鐵、黃銅 |
8 | 螺桿螺母 | 碳素鋼 |
9 | 膜片 | 鑄鐵、鑄鋼、不銹鋼 |
10 | 膜片壓板 | 球鐵、碳素鋼 |
11 | 導向套螺釘 | 碳素鋼 |
12 | 膜片座 | 鑄鐵、鑄鋼、不銹鋼 |
13 | 螺栓 | 碳素鋼 |
14 | 閥桿 | 不銹鋼 |
15 | 壓縮彈簧 | 不銹鋼 |
16 | 閥座 | 碳素鋼 |
多功能水泵水力控制閥主閥(活塞式)結構圖

多功能水泵水力控制閥主閥(活塞式)主要零件及材料
序號 | 零件名稱 | 主要材料 |
1 | 閥體 | 鑄鐵、鑄鋼、不銹鋼 |
2 | 密封圈 | 丁晴橡膠 |
3 | 閥板 | 球鐵,鑄鋼 |
4 | 小閥板 | 不銹鋼 |
5 | 活塞座 | 鑄鋼、球鐵 |
6 | 螺柱螺母 | 碳素鋼 |
7 | 活塞 | 球鐵、黃銅 |
8 | 指示桿 | 不銹鋼 |
9 | 調節螺桿 | 不銹鋼 |
10 | 閥蓋 | 鑄鐵、鑄鋼、不銹鋼 |
11 | 閥桿螺母 | 碳素鋼 |
12 | 活塞缸 | 不銹鋼 |
13 | O型圈 | 丁晴橡膠 |
14 | 閥桿 | 不銹鋼 |
15 | 壓縮彈簧 | 不銹鋼 |
16 | 閥座 | 碳素鋼、不銹鋼 |
基本流量壓差特性曲線圖

主要外形尺寸(法蘭連接尺寸按JB/T 78-1994、JB/T 79-1994)
<td style="BORDER-TOP: #f0f0f0; BORDER-RIGHT: windowtext 1px solid; BORDER-BOTTOM: windowtext 1px solid; PADDING-BOTTOM: 0px; PADDING-TOP: 0px; PADDING-LEFT: 7px; BORDER-LEFT: windowtext 1px solid; PADDING-RIGHT: 7pxyle="FONT-SIZE: 14px; FONT-FAMILY: 宋體">200
公稱通徑 | L | L1 | H 隔膜式 | H 活塞式 | D | D1 | Z-Φd | ||||
PN10 | PN16 | PN10 | PN16 | PN10 | PN16 | ||||||
50 | 203 | 203 | 270 | 540 | 160 | 125 | 4-18 | ||||
65 | 216 | 216 | 340 | 600 | 180 | 145 | 4-18 | ||||
80 | 241 | 241 | 400 | 660 | 195 | 160 | 4-18 | 4-18 | |||
100 | 292 | 292 | 440 | 760 | 215 | 180 | 8-18 | ||||
125 | 330 | 330 | 460 | 810 | 245 | 210 | 8-18 | ||||
150 | 394 | 356 | 500 | 860 | 285 | 240 | 8-23 | ||||
457 | 495 | 640 | 880 | 335 | 295 | 8-23 | 12-23 | ||||
250 | 533 | 622 | 680 | 950 | 390 | 405 | 350 | 355 | 12-23 | 12-25 | |
300 | 610 | 698 | 820 | 1020 | 440 | 460 | 400 | 410 | 12-23 | 12-25 | |
350 | 686 | 787 | 950 | 1100 | 500 | 520 | 460 | 470 | 16-23 | 16-25 | |
400 | 762 | 914 | 980 | 1250 | 565 | 580 | 515 | 525 | 16-25 | 16-30 | |
450 | 864 | 978 | 1050 | 1350 | 615 | 640 | 565 | 585 | 20-25 | 20-30 | |
500 | 914 | 978 | 1120 | 1550 | 670 | 715 | 620 | 650 | 20-25 | 20-34 | |
600 | 1067 | 1200 | 1400 | 1600 | 780 | 840 | 725 | 770 | 20-30 | <p | |
700 | 1150 | 1450 | 1650 | 1850 | 895 | 910 | 840 | 840 | 24-30 | 24-41 | |
800 | 1300 | 1560 | 1950 | 2050 | 1010 | 1025 | 950 | 950 | 24-34 | 24-41 | |
900 | 1450 | 1800 | / | 2250 | 1115 | / | 1050 | / | 28-34 | / | |
1000 | 1600 | 2000 | / | 2500 | 1230 | / | 1160 | / | 28-34 | / | |
1200 | 1800 | / | / | 1455 | / | 1380 | / | 32-41 | / | ||
1400 | 2100 | / | / | 1675 | / | 1590 | / | 36-48 | / | ||
1600 | 2250 | / | / | 1915 | / | 1820 | / | 40-54 | / | ||
1800 | 2400 | / | / | 2115 | / | 2020 | / | 44-54 | / | ||
|
||||||||||||||||||||||||
![]() |
||||||||||||||||||||||||
| ||||||||||||||||||||||||











